?!DOCTYPE html PUBLIC "-//W3C//DTD XHTML 1.0 Transitional//EN" "http://www.w3.org/TR/xhtml1/DTD/xhtml1-transitional.dtd">
2017/8/17 9:01:47来源Q《润滑a情报》杂?/span>

前言Q润滑a_度指数改进剂正在成为常用添加剂Q改善润滑a的粘度指敎ͼ低温动性和高温_度保持性。粘度指数改q剂通常是a溶性的高聚合物, q些高聚合物在发动机q{q程? 受到剪切和热解的作用, 大分子发生断? 断裂后的聚合物增E能力明昑֏? 油品的粘度下降。常用的_度指数改进剂ؓ聚甲Z烯酸?PMA)、乙烯丙烯共聚物(OCP)、氢化苯乙烯异戊二烯p?SV)、聚异丁?PIB)四大cR乙烯丙烯共聚物(OCP)因其性能h比较? 在润滑a中广泛应用?/span>
剪切安定性是润滑油品抗剪切能力的重要指标之一。发动机润滑Ҏa品的抗剪切能力越? l剪切后_度损失癑ֈ数越? 则a品的剪切安定性就好。ؓ了评价含聚合物的液压油及内燃机a的剪切安定性国内外已徏立了多种试验ҎQ如ASTM D5119-02、ASTM D6278-17e1 、ASTM D5275 -03 、ASTM D2603 -01 、DIN 51382 、CEC L -14 -A -93、SH/T0107-2007、ASTM D7109-12?ISO 20844-2015{, 其中AS TM D2603 -01 是采用超声L剪切Ҏ来评定含聚合物a的剪切安定性,ASTM D5119-02采用CRC L-38 引燃发动机测定,2003q作废。其余方法均采用柴a喷嘴剪切安定性试验A来评定?/span>
国内用于定含聚合物油的剪切安定性的模拟评定Ҏ主要有超声L剪切?SH/T 0505 -92)和柴油喷嘴剪切法(SH/T 0103-92)。因声L剪切法用沚w,旉短,仪器h便宜Q国内调合厂家普遍用。柴油喷嘴法更接q实际工况, 区分性更好。我国于1990 q参照ASTM D3945 -86(A ?卛_来的ASTM D3945 -93 标准制定了SH/ T 0103 含聚合物油剪切安定性测定法(柴a喷嘴?的标准?/span>
但是AS TM 已于1998 q提ZD6278 -98 标准Q?替代D3945 -93标准Q?002 q又对D6278 -98 q行了修订。这PASTM D3945-93已经被淘汎ͼ目前国普遍采用D6278 标准来评ha品和_指剂。在D4485 -03 中对CI -4 柴a机a的剪切安定性做Z明确的规定,要求SAE XW/30 和SAE XW/40 ҎlD6278剪切后aL_度应分别大? .3mm2/s ?2 .5mm2/s ?/span>
Ƨ洲也废除了与D3945相近的方法CEC -L -A -79 , 目前采用与D6278相近的CEC -L -14-A -93 Ҏ和DIN 51382 ҎQ在ACEA2004 内燃机a规格中, 对A/B 、C 、E 三个pd的内燃机油的剪切安定性均要求采用CEC -L-A -93 标准或ASTM D6278 ?/span>
2004q后QASTM参照CEC L-14-A -93标准Q提ZASTM D7109Q明要求采用柴油喷?0ơ和90ơ@环测定含聚合物润滑a的剪切稳定性,q对试验的精密度提出了更高的要求Q对仪器的校准提Z更合理的规定?/span>
׃国内剪切E_性测定标准与国外的差距,Dd剂商或a公司在选购油品及粘指剂Ӟ因采用的评定标准不一致而造成了一些本可避免的U纷。因?q一步了解含有聚合物的润滑a的剪切稳定性测定方法是非常有必要的。下面重点介l一下在用发动机油剪切稳定性测定标准的关键点以及差异性?/span>

声波剪切稳定性测定法
SH/T 0505-92含聚合物油剪切安定性测定法与ASTM D2603-01Q?3QStandard Test Method for Sonic Shear Stability of Polymer-Containing OilsQ含聚合物a声波剪切稳定性测定法Q相|下图1 是ASTM D2603-01Q?3Q测定设备的C意图?/span>
两种Ҏ都是采用声波振荡器Q评定受声波剪切作用所引v的粘度损失,以a?0℃粘度下降率来评定含聚合物a的剪切安定性。但是,ASTM D2603l过了数ơ调_定条g和校准方法都发生了较大的变化。SH/T 0505-92与ASTM D2603 -01Q?3Q两U测定方法的差异性见??/span>
ASTM D2603 -01Q?3Q中特别指出Q由于本Ҏ的局限性,不适用于发动机油剪切稳定性的定?/span>
燃a喷嘴剪切E_性测定法
ASTM D6278-17e1 、ASTM D5275 -03 、CEC L -14 -A -93QASTM D7109-12, SH/T 0107-2007, DIN 51382 、CEC L -14 -A -93Q?ISO 20844-2015{都是采用燃油喷嘴剪切法定润滑油剪切稳定性?/span>
ASTM D6278-17e1 、ASTM D5275 -03 源自已经淘汰的ASTM D3945-86。ASTM D6278-17e1QCEC L -14 -A -93QASTM D7109-12QSH/T 0107-2007QDIN 51382QISO 20844-2015{都是采用Bosch柴a喷嘴Q而ASTM D5275采用Waukesha柴a喷嘴Q测得结果会与其他方法不同?/span>
ASTM D6278-17e1明确指出Q采用该Ҏ得l果与采用ASTM D2603Ҏ定l果没有相关性。ASTM D6278-17e1定讑֤与CEC L-14-A-93相同Q与 CEC-L-14-A-93 的差异在于校准周期。与已经作废的ASTM D3945区别在于校准和操作方法?/span>
ASTM D7109 与ASTM D6278 的测定方法相|但要求测?0?0个@环,而ASTM D6278只要求测?0个@环?/span>
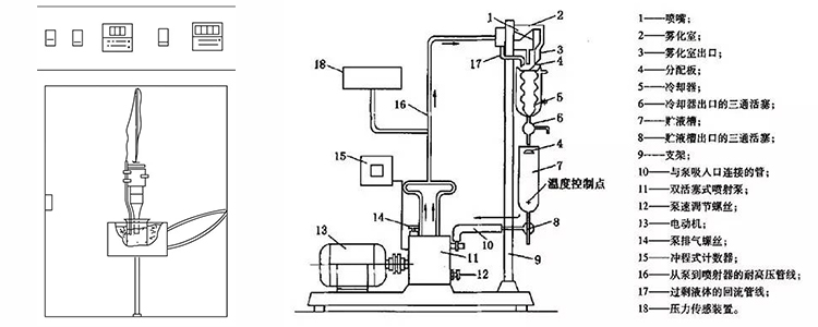
?QASTMD2603 定讑֤C意?nbsp;?QASTM D6278 试验讑֤C意?/span>
国内标准SH/T 0107-2007在采用ASTM D6278?2时进行了修改。与ASTM D6278 - 02的主要差异如下:
ASTM D6278-02中要求喷嘴支架型号ؓBosch KD 43 SA 53Q?5QDIN 51382及CEC L- 14-A-93仍要求用Bosch KD 43 SA 53Q?3型支Ӟ而且我国在用仪器基本上也是用Bosch KD 43 SA 53Q?3型支ӞSH/T 0107-2007采用Bosch KD 43 SA 53Q?3或Bosch KD 43 SA 53Q?5支架Q?/span>
ASTM D6278-02 W?0.7条中要求校准周期?20个@环,q要求校准七天之后必重新校准,校准周期较短Q而且l常q行试验的A器,用参比aq行校准Q因此本标准未采用ASTM D6278-02 10.7条中的校准周期所要求的应用质量控制曲U来监控pȝ的稳定性和_֯度?/span>
SH/T 0107-2007与SHQT 0103-1992相比主要变化如下Q?/span>
未经校准的或新喷嘴的压力调节Q在SHQT 0103-1992中要求喷嘴压力调节ؓQ?7.5MPau0.35MPa.SH/T 0107-2007中要求将压力调至13.0MPaQ?/span>
仪器校准QSHQT 0103-1992规定压力?7.5MPau0.35MPaQ参比a100℃运动粘度的损失值在2.50ram2Qs-3.20mm2Qs范围内;SH/T 0107-2007规定Q在13.0MPa-18.0MPa压力范围内,参比?00℃运动粘度的损失值应?.75mm2Qs-2.85mm2Qs范围内;
校准周期QSHQT 0103-1992中无校准周期要求。SH/T 0107-2007中规定试验A器在l过420个@环后必须q行校准Q在校准7天之后进行试验时也必ȝRL-34参比沚w新较准;
操作Q在SHQT 0103-1992中要求,在试验过E中的喷嘴压力应保持?7.5MPau0.35MPaQSH/T 0107-2007要求保持?3.0MPa?8.0MPa?/span>
l??/span>
1、超声L剪切E_性测定法已经不适用于发动机油,国内工厂在测定方法上应该及时更新观念?/span>
2、柴油喷嘴测定剪切稳定性方法适用于测定发动机油,是国内外普遍接受的方法,但是标准比较多,要注意甄别?/span>
3、最新的评定含聚合物润滑油尤其是发动机a的剪切安定性的Ҏ是ASTM D6278和ASTM D7109。对于长换a期要求,ASTM D7109定30ơ和90ơ@环的剪切E_性?/span>
?nbsp;APEX阿帕克斯Q法国食品润滑剂品牌,x食品、药品安?/span>
?nbsp;食品机械润滑专家Q特U润滑行业领D?/span>
?nbsp;NSF H1 / KOSHER / HALAL / ISO 21469
?nbsp;免费技术服务热U:400-998-7197
民以食ؓ天,食以安ؓ先。食品安全关pL个h的n体健康和生命安全Q必L?..
新华C??5日电Q董峅R韩佌Q一块小的奉Q将成ؓ今后撬动我国...
在全国市场,南椰岛昄q有更大的筹谋?018是v南椰岛的全新攚w之年...
大数据与牛奶Q听上去很远其实很近。在蒙牛集团Q一包牛奶的生q程可以产生...
文本标签Q?/p>